编者按:2025年,中山市知识产权保护中心聚焦珠江口东西两岸重点培育发展的低空经济产业“电动垂直起降飞行器(eVTOL)”细分领域,通过开展产业调研、政策归集、重点领域专利检索分析等工作,整理形成专利与标准双导航报告,并已面向社会公众发布。为便于大家更高效地掌握报告核心内容,促进研究成果的转化应用,特将报告精华内容摘编整理,形成低空经济产业专利导航系列简报,共分三期推出。本期发布的是系列简报的第二期—专利标准融合篇。该篇基于全球与中国电动垂直起降飞行器专利标准申请数据,聚焦重点申请人的融合实践,系统梳理产业发展趋势、多元融合模式与阶段性演进路径,对于服务区域低空经济产业高质量发展具有重要的现实参考价值。
报告正文:
一、背景介绍
电动垂直起降飞行器作为低空经济的核心载体与未来交通的重要发展方向,其技术创新与行业规范的协同推进至关重要。专利与标准的深度融合,既是企业抢占技术制高点、构建知识产权壁垒的关键路径,也是推动产业高质量发展、破解技术转化瓶颈的核心支撑。期望通过本次分析,为政府部门优化政策引导、企业精准布局创新、行业构建协同生态提供参考,助力电动垂直起降飞行器产业在规范中加速迭代,在融合中抢占全球发展先机。
二、专利和标准申请趋势分析
(一)全球电动垂直起降飞行器专利和标准申请趋势分析。
随着全球电动垂直起降飞行器市场兴起,专利申请成为技术输出的前提。2005年至2014年间, 全球(不包括中国)专利申请量从698件缓慢增长至2801件,处于缓慢积累期。2015年至2022年间,专利申请数量从5200件增至峰值期的21015件,实现数量级的飞跃,侧面反映出全球电动垂直起降飞行器多项关键技术在2015年左右取得突破,促使全球范围内专利申请出现高速增长。全球(不包括中国)电动垂直起降飞行器专利于2023年开始出现小幅回落,表明行业进入成熟阶段,专利申请更趋于理性,聚焦于关键核心技术而非数量。
全球其他国家电动垂直起降飞行器在标准制定的数量始终在低位徘徊,年均申请量仅为个位数,且年份间波动不大,无明显的持续增长趋势。由于电动垂直起降飞行器标准涉多个领域,需要国际组织、各国航空局以及众多企业共同协商,制定流程漫长,导致标准发布滞后。

图1 全球(不包括中国)电动垂直起降飞行器专利和标准申请趋势图
(二)中国电动垂直起降飞行器专利和标准申请趋势分析
中国电动垂直起降飞行器产业专利申请量在2006年至2014年期间缓慢增长,专利申请数量从35件逐步上升至906件,这与我国通用航空业发展迅速但仍存在规模较小、基础设施建设滞后、低空空域管理改革进展缓慢、航空器自主研发制造能力不足、运营服务薄弱等情况相符。2016年后,中国出台针对低空经济发展的一系列政策,开始进入专利技术的高速发展期,专利申请量也一路攀升,由2016年的5251件专利申请增长至2019年的10636件。2020年至2023年期间,由于资本市场和科技企业加大投入,企业为抢占技术制高点和构建知识产权壁垒,积极布局专利,专利申请数量持续高位运行,2023年专利申请数量达到峰值16470件。
标准方面,中国电动垂直起降飞行器标准申请趋势整体增长缓慢但稳定,从2005年的3项逐步增长至2023年的60项,虽然整体趋势有所起伏波动,仍显示行业规范化进程加速。

图2 中国电动垂直起降飞行器专利和标准申请趋势图
三、电动垂直起降飞行器重点申请人专利标准融合分析
(一)全球电动垂直起降飞行器重点申请人SEP占比分析
标准必要专利(SEP)指的是实施某项标准所必不可少的专利,其数据主要来源于ETSI(欧洲电信标准化协会)。从具体数据来看,邦克山科技有限责任公司SEP数量占电动垂直起降飞行器专利数量的比例最高,达99.3%,排在第二位的是联想(新加坡)私人有限公司,占比94.3%,二者在电动垂直起降飞行器专利基本上是SEP,体现二者几乎将该领域专利与标准高度融合;进一步分析表格中重点申请人的属性,这些创新主体多为通信领域巨头公司,如高通股份有限公司、三星电子株式会社(韩国)、华为技术有限公司等,它们不仅深耕通用通信技术,还积极布局电动垂直起降飞行器相关通信技术。而除通信领域外的其他重点申请人,更倾向于参与国家标准和行业标准,而非通过申请SEP实现专利与标准对应,展现出不同行业在技术标准布局策略上的区别。
表1 全球重点申请人电动垂直起降飞行器SEP标准专利融合占比表

(二)全球电动垂直起降飞行器重点申请人重点SEP案例。
为深入剖析SEP的技术内涵与价值,综合考量专利的简单同族规模(反映全球布局广度)、专利内容(技术的核心性与相关性)及专利价值度等多项指标,从中遴选12件最具代表性的重点SEP专利进行展示。下表详细展示其专利标题、公开号、申请日、简单同族个数及对应的SEP标准号等信息,旨在透过典型个案揭示该领域的技术发展动向与标准融合特征。
表2 电动垂直起降飞行器重点SEP标准专利列表

(三)中国电动垂直起降飞行器重点申请人专利与标准数量对比分析。
在中国的电动垂直起降飞行器重点申请人中,深圳市大疆创新科技有限公司以5247件专利数量,参与制定39项标准,成为专利数量与标准制定数量均居首位的企业;而广州极飞科技股份有限公司则以1104件专利数量,参与制定6项标准位居前列,两家企业均体现出“专利申请量较多的企业一般会参与标准”的特征。另外五家企业呈现出“专利少但参与制定标准积极”的特点,其中深圳一电(深圳一电航空技术有限公司、深圳一电科技有限公司、深圳一电智能技术有限公司)专利数量只有33件,却参与11项标准制定,深圳美团低空物流科技有限公司拥有17件专利,参与9项标准制定,深圳市科比特航空科技有限公司和中航通飞华南飞机工业有限公司专利数量均仅6项,却分别参与11项、8项标准制定,深圳赛西信息技术有限公司更是在与电动垂直起降飞行器相关专利数量为0的情况下仍参与2项标准制定。整体来看,该领域头部技术企业多通过“技术研发+标准参与”巩固行业地位,部分专利积累有限的企业则以积极参与标准制定的方式在行业规则层面寻求突破。
表3 中国电动垂直起降飞行器重点申请人专利与标准数量对比表

(四)珠江口东西两岸电动垂直起降飞行器重点申请人专利与标准数量对比分析。 深圳大疆和广州极飞均为珠江口东西两岸电动垂直起降飞行器领域的重点企业,专利积累与标准参与度居区域前列,且在技术布局、市场定位及专利标准融合路径上各具典型性,其发展实践能精准折射该区域核心企业的成长逻辑与产业差异化发展特征,因此本篇主要选取深圳大疆与广州极飞作为核心分析对象。
深圳大疆在电动垂直起降飞行器领域的发展可分为多阶段:2009年前为技术储备期,未布局专利与参与标准制定;2010至2013年进入技术萌芽期,国内外专利申请量较少,仍未参与标准制定;2014至2020年步入技术爆发期,专利申请量快速攀升,2019年中国专利申请量达353件,同年标准制定实现“零”突破,2020年全球专利申请达577件,参与8项标准制定;2020至2023年集中参与29项标准制定,但2021年起国内外专利申请量下滑,推测系深圳大疆对电动垂直起降飞行器领域专利布局进行精简,只保留高价值、适航级核心专利,同时内部技术研发方向分流压缩了电动垂直起降飞行器领域的专利申请数量。

图3 深圳大疆电动垂直起降飞行器全球、中国专利申请趋势及标准分布图
广州极飞在电动垂直起降飞行器领域的发展呈现鲜明阶段特征与差异化策略:2014年前为技术储备期,未布局专利及参与标准制定;2015年启动专利布局,当年中国专利申请11件、全球专利申请5件,仍未涉足标准;2016年后专利申请量快速增长,2017年全球专利申请达75件峰值,2021年中国专利申请达202件且标准制定实现零的突破,此阶段侧重以专利构建技术壁垒。其差异化策略体现在深耕本土市场,中国专利布局远多于全球,2018年后进一步收缩全球专利布局、加大国内投入,资源向本土倾斜,聚焦国内市场发展。

图4 广州极飞电动垂直起降飞行器全球、中国专利申请趋势及标准分布图
(五)珠江口东西两岸电动垂直起降飞行器重点申请人专利与标准融合路径分析。
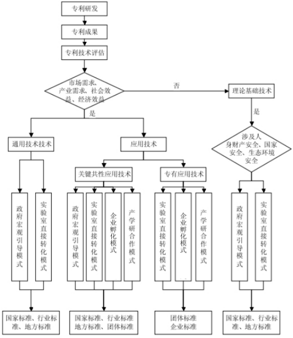
结合上述两个重点申请人的专利申请与标准制定对比分析,电动垂直起降飞行器重点申请人专利标准融合路径主要分为三个阶段:
一是专利研发与成果评估阶段,首先开展电动垂直起降飞行器的技术研发工作,形成专利成果后,对专利技术进行评估。评估需考量市场需求、产业需求、社会效益以及经济效益。
二是技术分类与转化路径选择,若专利技术成果的评估不满足市场、产业等实际需求,则将该专利技术归为理论基础技术。接着判断该专利技术成果是否涉及人身财产安全、国家安全、生态环境安全,若涉及,可通过政府宏观引导模式或实验室直接转化模式,将技术融入国家标准、行业标准、地方标准。反之,若该专利技术成果的评估满足需求,可将该专利技术分为通用技术和应用技术,其中通用技术是指可通过政府宏观引导模式或实验室直接转化模式,融入国家标准、行业标准、地方标准。例如,电动垂直起降飞行器的通用动力系统技术,可在政府引导下成为行业通用标准。而应用技术又细分为关键共性应用技术和专有应用技术,其中关键共性应用技术是指能通过政府宏观引导模式、实验室直接转化模式、企业孵化模式、产学研合作模式,融入国家标准、行业标准、地方标准、团体标准。此外,专有应用技术是指可通过实验室直接转化模式、企业孵化模式、产学研合作模式,融入团体标准、企业标准。
三是标准融合的最终呈现,即通过上述的转化路径,电动垂直起降飞行器重点申请人的专利技术,分别融入到国家标准、行业标准、地方标准、团体标准、企业标准等不同层级和类型的标准中,实现专利与标准的融合,进一步推动技术的规范化应用与行业发展。

图5 电动垂直起降飞行器重点申请人专利标准融合路径
四、结论与建议
全球与中国电动垂直起降飞行器专利标准发展呈现差异化特征,全球电动垂直起降飞行器的专利历经“积累—爆发—理性成熟”阶段,而相关标准制定长期滞后;中国电动垂直起降飞行器专利在政策、资本推动下快速增长,相关标准稳步推进,行业规范化加速。在电动垂直起降飞行器专利标准融合领域,重点申请人根据自身企业的特色形成多元的融合模式,全球通信领域企业侧重SEP标准专利绑定,而非通信领域聚焦国标与行标;中国电动垂直起降飞行器头部企业则以“技术+标准”的融合策略来不断巩固自身行业地位,其余中小企业则通过参与标准制定实现发展突破。目前,融合路径已形成“研发评估—分类转化—标准落地”三阶段演进模式,企业发展阶段与市场定位主导策略动态调整。
综上,eVTOL领域专利与标准的融合已具备技术基础与实践路径,但仍需解决标准滞后于技术、融合程度不均等问题。政府需强化政策引导,构建跨领域标准协调机制,加快安全相关强制性标准制定,优化专利标准融合支持政策与基础设施配套。企业应聚焦高价值专利布局,结合市场定位优化全球布局;加强国际合作,推动中国技术纳入国际标准,促进全球标准协调统一,助力产业高质量发展。同时,企业应制定差异化布局策略,通信类企业深耕SEP专利与国际标准,制造运营类企业平衡专利积累与标准参与,强化产学研协同转化。行业需搭建资源共享与风险防控平台。